цифровое фото

все что не укладывается в рамки уже существующих разделов. (free chat)
Аватара пользователя
Basil Lion
veteran
veteran
Сообщения: 460
Зарегистрирован: 28 июл 2003, 00:04
FurSpecies: lion
Откуда: Киев, Украина
Контактная информация:

Сообщение Basil Lion »

Димониус, о каких конкретно моделях Сони ты говоришь (про шум матрицы)... плиз, конкретики немного больше не помешало-бы.

Из личного опыта -- шумов в Соньке не больше чем в той же А20, но вот электроника в Соньках намного лучше справляется с ними чем другие камеры. Примеры -- смотрите ночные снимки. Не верите мне -- спросите Скара. На счет мемористиков -- это да, тут я полностью согласен... ужастно медленные и дорогие... но более новые MSки уже работают быстрее (1.2 Мб/с) а Pro'шки вообще до от 4 до 8... Но пора бы им технологию поменять :(

На счет сильных обераций -- это туфта... сколько смотрел сам, сколько перечитал _аргументированных_ ревьюшек и сравнений с примерами -- Сони НЕ хуже других камер аналогичного диапазона. Правда и не намного лучше. Но так и должно быть в камерах одного "поколения".

Тормохнутость Сони это тоже факт... но как говорят "плохому танцору мешает кое-что другое" (с) :)

Я бы с удовольствием не платил за имя Сони если бы были камеры с теми-же характеристиками из тех же материалов но noname производителя ;) Лично я приверженец Сони за качество кривых автокоррекции (которые очень помогают при ночной съемке)... у других любительских камер тоже есть автокоррекция, и она тоже не отключаема как у сони... но работает намного хуже.

На счет представленных камер -- А20 хороший выбор :) Ну а если не платить за имя типа Сони -- то есть Кодак и Шарп. Тоже ничего себе камеры судя по технических характеристикам... с кодака я видел результаты, и они субъективно немного хуже сони и кэнона... шарп вообще не видел, но внушает доверие насколько это возможно :)
Аватара пользователя
Firebird
veteran
veteran
Сообщения: 494
Зарегистрирован: 31 июл 2003, 20:05
Откуда: Snowing Moscow
Контактная информация:

Сообщение Firebird »

В любом магазине спросив, что получше из одной цуеновой категории: Сони или что-нибудь другое? Скажут - что-нибудь другое :))) У мяу есть подборка фоток, сделанных одной из дешевых моделей Сони P-72, хуже цифровиков я не видел. Короче, эта фирма делат все хорошо, кроме фотоаппаратов ;) Сар, посоветуйся с профессионалом лучше или закинь подобный топик на специализированном форуме.
Arbeit Macht Frei!
Аватара пользователя
ForumAdmin
tech support
tech support
Сообщения: 3866
Зарегистрирован: 27 июл 2003, 23:53
FurSpecies: dragon
Контактная информация:

Сообщение ForumAdmin »

уфф.. купила таки.. :) с приключениями на весь день Х) (у меня вечно ничего гладко не выходит ;/)

То фотиков нужных нет, то кредита.. В прайсах одно, в наличии другое. Жуть Х) Ближе к вечеру добралась до т.ц. "галактика" на другом конце города с твердым решением "купить, не важно что".

Там оказалась относительно неплохая подборка (ок. 30 моделей), но ни А70, ни "моего" НР735 :lol:, ни Sony CP52 не было!! :( Либо дорогущие пальцеватые, либо игрушки-мыльницы... В итоге я купила Canon power shot A60 :) ...и черт с ними, с этими мегапикселями Х) Вышло все гдето на 300$(с карточкой на 128мб)

Мда... По всей видимости рынок цифровой фотографии здесь еще не востребован, не развит и неоправданно дорог.. полный бардак..
_______________________

Такие вещи как "шум матрицы" слишком субъективны :) Давайте фотки в студию (желательно не кривыми и не предвзятыми лапцами пофотаные ;))

>>>Сар, посоветуйся с профессионалом лучше

тут тоже водятся звери, весьма в этом разбирающиеся ;)

А что такое "оберации"?
Хранить - это дело почетное тоже, - Удачу нести на крыле
Аватара пользователя
Dimoniusis
leader
leader
Сообщения: 601
Зарегистрирован: 29 июл 2003, 15:34
Откуда: Moscow
Контактная информация:

Сообщение Dimoniusis »

Сар - да не вопрос. Снимали штук 5 камер сони - везде проблемы - вон Синкау поддавшись увещеваниям Бэзила и Скара сменил как минимум 3 Соньки - и на всех одно и тоже... На iso 200 конечно шума меньше, но и выдержка чуть ли не минута - слабо снимать минуту с рук? Мне - слабо. А таскать с собой штатив, чтобы пофоткаться в зоопарке - извините, ривык отдыхать по другому.

На дереьях аберации видны просто идеально по краям снимка... В общем фотки выложу, они у меня дома, но в целом не могу даже с Фаербирдом согласится - пока все тчо я видел у Сони (кроме старых моников правда, и труб Flatron) было полным отстоем, да еще и дорогим отстоем... а новые моники Сони за 2 месяца "работы" повыбали в гарантии 8 раз! После чего их просто обменяли на моники другой фирмы.
[Lion King team][Programmers team][Furry team]
Аватара пользователя
Firebird
veteran
veteran
Сообщения: 494
Зарегистрирован: 31 июл 2003, 20:05
Откуда: Snowing Moscow
Контактная информация:

Сообщение Firebird »

Сар, неплохую камеру купила, морально устаревшую сильно, что тут скрывать, но вещь все равно неплохую по сравнению с Соньками и ХП за ту же цену ;)
Arbeit Macht Frei!
Аватара пользователя
Basil Lion
veteran
veteran
Сообщения: 460
Зарегистрирован: 28 июл 2003, 00:04
FurSpecies: lion
Откуда: Киев, Украина
Контактная информация:

Сообщение Basil Lion »

Димониус, дай мне любую камеру на твой выбор (ессно самую лучшую!) и я тебе такой калище наснимаю что ты сам ужаснешся :D Ну елки-палки. Дал снимать Соньку Синкау... ты бы еще отдал процесоры АМД на тестированию интелу и этим аргументировал что-то :) Смешно просто. Экспертиза должна быть НЕ-ЗА-ВИ-СИ-МОЙ... а Синкау изначально был уверен в каличности Сони (как и ты) вот и фотографии получил такие. Ну а на децильных камерах (мыльницах) фотки по любому плохие будут.

Вот тебе пару примеров из моих фоток (оригиналы, 1.2Мб каждый):

http://furry.org.ua/~basil/tmp/

DSC05577.JPG -- Тони на фоне танка, контрсвет, солнечно/ясно... (дуло танка закрывает солнце)
DSC05938.JPG -- силуэт дерева, контрсвет, солнечно/ясно...
DSC05992.JPG -- силуэт дерева, туман... (но яркий фон)
DSC06349.JPG -- лунная ночь, облачно...

Сам суди. Или скажешь что фотки плохие, что обераций немерено и все зашумлено? Скажи лучше ЧТО тебе снять чтобы ты удостоверился на собственном опыте в том что заблуждаешься. (ФБёрд, ты тоже) Я отсниму материал так хорошо как смогу, и потом посмотрим на результат. Выложу ессно оригиналы.
Аватара пользователя
Dimoniusis
leader
leader
Сообщения: 601
Зарегистрирован: 29 июл 2003, 15:34
Откуда: Moscow
Контактная информация:

Сообщение Dimoniusis »

Базь, твой конкретный экземплр камеры, как показала практика лучше. Возможно ты еще их обрабатываешь чем - есть такая прога как Neat Image котрая позволяет почистить картинку от шумов... Делает это она очень неплохо и качество возрастает.

Синкау не был уверен в калищности Сони - из вашей со скаром рекламы он специально купил камеру чтобы погонять и в хвост ее и в гриву... Что он с ней только не делал - она НОРМАЛЬНО не снимала...


Из германии форти ваши - как солнце и тд - Сонька есно тут же прибавляет все цвета на +10, и поулчается "радостная картинка". Как только кучть-чуть тень - сразу идет немерянный шум.... Я покажу с германии фотки.
[Lion King team][Programmers team][Furry team]
Аватара пользователя
Dimoniusis
leader
leader
Сообщения: 601
Зарегистрирован: 29 июл 2003, 15:34
Откуда: Moscow
Контактная информация:

Сообщение Dimoniusis »

Плюс еще выложенные тобой фотки достаточно своеобразны, я покажу твои же фотки, и фотки Скара и Синкау - где шум просто немерян.

Ты же снимал на ISO 100 (одна на ISO200) - это НЕМЕРЯННАЯ выдержка по тормознутости. ПОчти любая камера снимает вообще без шума на таких выдержках, твоя - с минимальным шумом. Но опять же возвращемся к тому, что таскать с собой штатив, чтобы снимать на ISO 100 - идея не из лучших.

ИМХО ночная фотка подверглась чистке... Что-то мне так каааажется ;)
[Lion King team][Programmers team][Furry team]
Аватара пользователя
Basil Lion
veteran
veteran
Сообщения: 460
Зарегистрирован: 28 июл 2003, 00:04
FurSpecies: lion
Откуда: Киев, Украина
Контактная информация:

Сообщение Basil Lion »

Димониус, я фотки ничем не обрабатываю... а если обрабатываю -- то сразу и уменьшаю+пережимаю. Так что их легко отличить от оригиналов... Если ты сомневаешься -- скажу честно что не подправлял EXIF данные...

PS -- ISO -- это чувствительность а не выдержка ;) Хоть и называется ISO-speed, но имеет отношение лишь к скорости реакции фотоэлемента. Бывает в большинстве случаев 32, 64 (в старых совковых пленках), 100, 200, 400, 800 единиц. Чем выше -- тем больше зернистость фотографий/слайдов в пленочных камерах. В цифровых камерах -- это не имеет смысла ибо чувствительность матрицы величина постоянная. Выдержка же -- это время срабатывания затвора камеры (в долях секунды: 1/2000, 1/1000, ..., 1/4, 1/2... дальше в секундах: 1, 2, ..., 8... или ручная выдержка) Диафрагма -- это диаметр открытия шторки объектива, измеряется в единицах... от 16 до 2 (возможно это миллиметры, но в этом я не уверен)
Последний раз редактировалось Basil Lion 08 мар 2004, 12:34, всего редактировалось 1 раз.
Аватара пользователя
Dimoniusis
leader
leader
Сообщения: 601
Зарегистрирован: 29 июл 2003, 15:34
Откуда: Moscow
Контактная информация:

Сообщение Dimoniusis »

Бэзил - небольшой экскурс.

Чувствительность матрицы в цифровых камерах - это грубо говоря сколько раз система будет считывать с матрицы инфу и соосно на основании скольких "кадров" будет делать готовую картинку. Матрица любая - шумит. Темновые токи, наводки и прочее- дают шум. ПРи ISO 400 - считьывается 1-2 раза, соосно идет все то г..но что попало на матрицу. ПРи ISO 100 это инерполируется по нескольким резуальтатам считывания.

Но вот проблема в том, что если снимать на 100, то соосно кол-во считываний увеиливается и время нужное для этой операции тоже. МОжно конечно недодержать - но тогда фотки получаются черными. На 400 можно снимать быстро. На 100 чтобы кадр получился надо снимать долго. Соосно эти памамертры сильно зависят друг от друга.


И не думай, что ты умнее всех. Что такое выдержка, диафрагма и экспозиция с чувствительностью все прекрасно знают, чай ен один год снимают.
[Lion King team][Programmers team][Furry team]
Аватара пользователя
Basil Lion
veteran
veteran
Сообщения: 460
Зарегистрирован: 28 июл 2003, 00:04
FurSpecies: lion
Откуда: Киев, Украина
Контактная информация:

Сообщение Basil Lion »

В подавляющем большинстве камер в роли светочувствительных элементов используются ПЗС-матрицы (приборы с зарядовой связью), состоящие из большого числа светочувствительных ячеек, в которых под воздействием света накапливается отрицательный заряд определенной величины. Этот заряд преобразуется в напряжение, величина которого, в свою очередь, переводится в цифровую форму в аналогово-цифровом преобразователе (АЦП) камеры.

Схема похожа на принцип работы планшетного сканера, за тем лишь исключением, что раздельные цветовые фильтры устанавливаются не на линейки из светочувствительных ячеек, а на каждую из таких ячеек в отдельности. В результате, формируется «шахматная доска» из пикселов красного, зеленого и синего цвета. Для получения необходимой информации по яркости в каждом ряду этой «доски» находится по два пиксела зеленого цвета. Считывание идет построчным снятием величины накопленного заряда.

Минусом является то, что для точного определения цвета конкретного пиксела приходится выполнять интерполяционные расчеты, базирующиеся на данных, полученных от соседних светочувствительных ячеек. Мало того, поскольку в одном ряду «шахматной доски» нельзя одновременно устанавливать фильтры всех трех цветов (из-за неизбежных оптических погрешностей, связанных с отражением света от устанавливаемых над светочувствительными ячейками микролинз), то элементарный цикл обработки кадра, как правило, состоит из операций «сложения» информации с двух близлежащих рядов матрицы.

Изображение

Радикальным образом решить проблему чересстрочного чтения матрицы удалось инженерам компании Fujifilm, разработавшим технологию Super CCD (с ПЗС-матрицей такого типа работает камера FinePix S1 Pro), суть которой -- в размещении светочувствительных ячеек восьмиугольной формы (в обычных матрицах это квадрат) под углом 45 градусов, что позволило избавиться от нежелательных оптических помех. В результате, благодаря включению в каждый ряд светочувствительных ячеек сразу по трем цветовым составляющим, значительно возросла скорость обработки информации, появились средства реализации разнообразных режимов серийной съемки с прореживанием данных. Новая схема построения матрицы увеличила эффективную экспонируемую площадь, из-за чего стало возможным интерполяционное поднятие разрешения кадра со стандартных 2304x1536 точек до 3040x2016 точек.

Изображение

Изображение

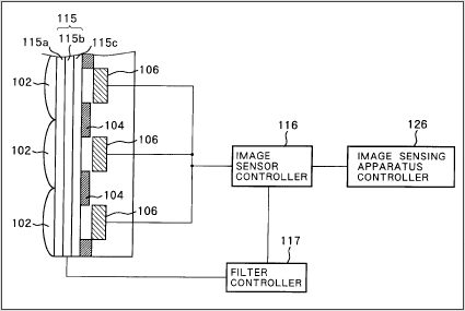
В середине 2002 года фирма Canon получила патент на свою новую разработку ("Image sensing apparatus with optical modulation elements having transmission characteristics controllable by pixel", что в дословном переводе прозвучит как "устройство для считывания изображения элементами оптической модуляции с по-пиксельным контролем характеристик")

Патент описывает принцип работы светочувствительной матрицы, способной контролировать цвет фильтра перед каждым пикселом изображения. Судя по диаграмме, идея состоит в получении двух изображений, каждое из которых сдвинуто в RRGGBGG пространстве, и дальнейшей их комбинации для получения полноцветного изображения. Плюс к этому, технология позволяет контролировать количество источников света, освещающих каждый пиксел, тем самым расширяя динамический диапазон снимка.

Изображение

Это создало еще одно конкурирующее направление -- использование матриц на базе светочувствительных КМОП-структур. (Canon EOS D30 с матрицей площадью 15,1x22,7 мм и разрешением 2160x1440 точек) Среди достоинств КМОП-датчиков -- произвольная адресация и независимое чтение любой светочувствительной ячейки, без необходимости считывания информации со всего ряда; интеграция в каждую ячейку специальных логических схем, выполняющих нужную обработку прямо на месте.

Изображение

А теперь про широту поддерживаемого диапазона эквивалентных чувствительностей по шкале ISO. Следуя давно знакомой по работе с пленочными камерами терминологии, разработчики цифровых аппаратов включают в спецификации значения (или диапазон значений) чувствительностей пленок, которые способна имитировать конкретная камера.

Хотя никаких данных о том, по каким критериям рассчитывается заявляемая чувствительность, вы не найдете, этот параметр позволяет хотя бы качественно оценить динамический диапазон конкретной камеры. Дело здесь в том, что как и в случае с фототехнической пленкой, величина чувствительности напрямую определяется размером элементарной светочувствительной ячейки (для пленки это размер зерен галогенидов серебра, а для светочувствительной матрицы — размер элементарного фотодиода).

По имеющимся отрывочным данным можно утверждать, что размеры элементарных светочувствительных ячеек в матрицах современных цифровых малоформатных камер варьируются в диапазоне от 3 до 13 микрон (в ПЗС-матрице ICX262AQ компании Sony сторона квадрата ячейки равна 3,45 мкм). При этом, чем крупнее матрица, тем больше может быть ее ячейка (например камеры Kodak DCS 520 и DCS 620 с максимальной чувствительностью 1600 имеют размер стороны квадрата ячейки 13 мкм) и, следовательно, выше чувствительность камеры (но меньше разрешение). Показательные примеры — камеры Canon EOS D30 и FinePix S1 Pro (с матрицами 15,1x22,7 мм и 15,6x23,3 мм), обеспечивающие диапазоны чувствительностей от 100 до 1600 и от 320 до 1600, соответственно. Следует аппараты Кодак с чувствительностями до 6400 единиц ISO, что заставляет жертвовать в них разрешением матрицы. Профессиональные же камеры имеют максимальную чувствительность в 200 или 400 единиц, поскольку ориентированы на студийную и художественную, а не репортажную съемку, и должны обладать бОльшим разрешением.

Таким образом имеем вывод (если до сих пор не понятно) что камеры с низким разрешением матрицы имеют преимущество в чувствительности. И сравнивать камеры с разной разрешающей способностью матриц в принципе не очень правильно. А так-же, что многое в качестве снимков зависит от алгоритмов при АЦП, средств непосредственной коррекции изображения, и кривых цветокоррекции в камере. Т.е. от в равной мере от электроники, а не только от матрицы. В Sony DSC-S70 ISO автоматически устанавливается электроникой камеры в пределах от 100 до 300 единиц. При этом количество считываний ПЗС может достигать восьми(!) для определенных программ съемки. Например. 4 группы считываний: установочное, 2 группы по 3 накопительных замера, + 1 корректирующее считывание. Или более простой агоритм: 4 замера со сложением + промежуточная корректировка баланса по гистограме. Современный уровень развития позволяет интегрировать достаточно мощные процессоры в камеры, большой кеш дает возможность хранить десятки кадров перед началом записи на носитель, или обрабатывать данные при съемке, или непосредственно после ее завершения. Не вижу тут ничего удивительного.
Вложения
Image sensing apparatus with optical modulation elements having transmission characteristics controllable by pixel
Image sensing apparatus with optical modulation elements having transmission characteristics controllable by pixel
064_3.gif (10.46 КБ) 8916 просмотров
Принципиальная схема размещения светочувствительных ячеек в ПЗС-матрице Super CCD компании Fujifilm
Принципиальная схема размещения светочувствительных ячеек в ПЗС-матрице Super CCD компании Fujifilm
064_2.jpg (12.61 КБ) 8917 просмотров
Принципиальная схема размещения светочувствительных ячеек в ПЗС-матрице ICX262AQ компании Sony
Принципиальная схема размещения светочувствительных ячеек в ПЗС-матрице ICX262AQ компании Sony
064_1.jpg (12.88 КБ) 8914 просмотров
Последний раз редактировалось Basil Lion 08 мар 2004, 12:33, всего редактировалось 1 раз.
Аватара пользователя
Dimoniusis
leader
leader
Сообщения: 601
Зарегистрирован: 29 июл 2003, 15:34
Откуда: Moscow
Контактная информация:

Сообщение Dimoniusis »

/me оскорбился Бэзилом и тоже с ним не разговаривает
[Lion King team][Programmers team][Furry team]
Аватара пользователя
ForumAdmin
tech support
tech support
Сообщения: 3866
Зарегистрирован: 27 июл 2003, 23:53
FurSpecies: dragon
Контактная информация:

Сообщение ForumAdmin »

/me обняла одной лапой Димониуса, а другой Бейзила :)
давайте жить мявно :)))
подумаешь фотики.. далеко не самое важное в жизни ;)


Базя, спасибо за обзоры :) Весьма познавательно..
Хранить - это дело почетное тоже, - Удачу нести на крыле
Аватара пользователя
Chester
leader
leader
Сообщения: 651
Зарегистрирован: 27 сен 2003, 07:43
Откуда: Питер
Контактная информация:

Сообщение Chester »

Правильно, нашли из-за чего ссорится.

P.S. сорри за оффтоп.
Аватара пользователя
ForumAdmin
tech support
tech support
Сообщения: 3866
Зарегистрирован: 27 июл 2003, 23:53
FurSpecies: dragon
Контактная информация:

Сообщение ForumAdmin »

Честер, оштрафовать тебя чтоли на сотню-другую лапок? ;)
Хранить - это дело почетное тоже, - Удачу нести на крыле
Ответить